Many
Manuals
search
Kategorie
Marki
Strona główna
Multitech
Networking
MT5600SMI
Dokumentacja
Multitech MT5600SMI Dokumentacja Strona 59
Pobierz
Podziel się
Dzielenie się
Dodaj do moich podręczników
Drukuj
Strona
/
138
Spis treści
BOOKMARKI
Oceniono
.
/ 5. Na podstawie
oceny klientów
1
2
3
4
5
6
7
8
9
10
11
12
13
14
15
16
17
18
19
20
21
22
23
24
25
26
27
28
29
30
31
32
33
34
35
36
37
38
39
40
41
42
43
44
45
46
47
48
49
50
51
52
53
54
55
56
57
58
59
60
61
62
63
64
65
66
67
68
69
70
71
72
73
74
75
76
77
78
79
80
81
82
83
84
85
86
87
88
89
90
91
92
93
94
95
96
97
98
99
100
101
102
103
104
105
106
107
108
109
110
111
112
113
114
115
116
117
118
119
120
121
122
123
124
125
126
127
128
129
130
131
132
133
134
135
136
137
138
Chapter 2 – SocketModem (MT5600SMI & MT
5656SMI)
Multi-Tech Systems, Inc. Universal Socket
Hard
ware Guide for Developers (S000342C)
59
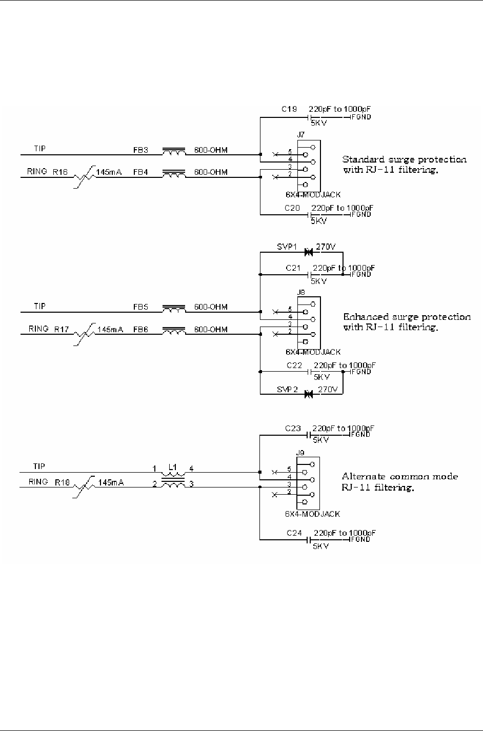
Application Notes
Tip and Ring Interface
Main Board Filter
ing
1
2
...
54
55
56
57
58
59
60
61
62
63
64
...
137
138
Universal Socket
1
Connectivity
1
Table of Contents
3
Chapter 1
7
Chapter 1 - Universal Socket
8
Commands
9
Universal Pin Descriptions
10
Design Considerations
13
Maximum Component Height
16
SocketModem Developer Board
17
Telecom Approvals
24
Label Examples
27
Industry Canada
28
South African Statement
29
Flash Upgrade
30
Serial Port Upgrade
31
Ethernet Port Upgrade
32
Programming the Modem
33
Other Programming Concerns
34
Wireless Account Activation
36
Replacement Parts
39
Chapter 2
40
Chapter 2 – SocketModem
41
(MT5600SMI & MT5656SMI)
41
Developer Kit
42
Parallel Configuration
45
Current Modems
46
Overview
49
FCR – FIFO Control Register
52
LCR – Line Control Register
54
LSR – Line Status Register
56
MSR – Modem Status Register
57
SCR – Scratch Register
58
Divisor Registers
58
Microphone and Speaker
60
Recommended Parts
61
Chapter 3
62
Chapter 3 – SocketModem
63
Timing Requirements
69
Registers
70
Time Out Interrupts
72
FCR – FIFO Control
74
LCR – Line Control
74
MCR – Modem Control
74
LSR – Line Status
75
MSR – Modem Status
75
SCR – Scratch
76
DLL – Divisor Latch (LSByte)
76
DLM – Divisor Latch (MSByte)
76
Chapter 4
79
Chapter 4 – SocketModem
80
(MT2456SMI-22)
80
Applications Notes
85
Chapter 5
87
Chapter 5 – SocketModem IP
88
(MT2456SMI-IP)
88
Chapter 6
95
(MTXCSEM)
96
Application Notes
100
Chapter 7
101
Chapter 7 – SocketModem ISDN
102
(MT128SMI)
102
Technical Specifications
103
Serial Configuration
104
Electrical Characteristics
105
MT128SMI Developer Board
106
MT128SMI Schematics
107
Chapter 8
111
Chapter 8 – SocketModem GPRS
112
(MTSMC-G)
112
Mechanical Dimensions
114
SocketModem Configuration
115
MMCX Plug
120
MMCX / SMA Adapter
120
Antenna Cable
120
Chapter 9
121
Chapter 9 – SocketModem CDMA
122
(MTSMC-C)
122
CDMA Antenna
127
Radio Characteristics
127
Chapter 10
128
Chapter 10 – SocketWireless
129
Bluetooth (MTS2BTSMI)
129
Category Description
131
Changing Configuration
135
Antenna Requirements
136
Antenna
136
Komentarze do niniejszej Instrukcji
Brak uwag
Publish
Powiązane produkty i podręczniki dla Networking Multitech MT5600SMI
Networking Multitech MTCBA-C-IP-N12 Instrukcja Użytkownika
(17 strony)
Networking Multitech FaxFinder FF240-IP Instrukcja Użytkownika
(23 strony)
Networking Multitech MVP810-AV Instrukcja Użytkownika
(4 strony)
Networking Multitech MTCBA-C-U-N2 Dokumentacja
(308 strony)
Networking Multitech MTCMR-H Dokumentacja
(56 strony)
Networking Multitech CDMA Dokumentacja
(129 strony)
Networking Multitech MT2834BA Instrukcja Użytkownika
(7 strony)
Networking Multitech ISIHP-2U Instrukcja Właściciela
(63 strony)
Networking Multitech MT2834BL Dokumentacja
(225 strony)
Networking Multitech MT56DSU-R Instrukcja Użytkownika
(11 strony)
Networking Multitech MTSMC-C-N3 Instrukcja Użytkownika
(14 strony)
Networking Multitech MT2834ZDX Instrukcja Użytkownika
(20 strony)
Networking Multitech MVP30-60 Instrukcja Użytkownika
(4 strony)
Networking Multitech MULTIVOIP MVP-810 Podręcznik Użytkownika
(163 strony)
Networking Multitech FF830 Podręcznik Użytkownika
(151 strony)
Networking Multitech MultiModem MTCBA-G-F4 Instrukcja Użytkownika
(16 strony)
Networking Multitech MultiModem ZBA MT9234ZBA Podręcznik Użytkownika
(51 strony)
Networking Multitech MTR-C2 Instrukcja Użytkownika
(20 strony)
Networking Multitech MultiModem DSVD MT5600DSVD Instrukcja Obsługi
(37 strony)
Networking Multitech GFU19 Instrukcja Użytkownika
(210 strony)
Drukuj dokument
Drukuj stronę 59
Komentarze do niniejszej Instrukcji